第一步:登陆教师客户端,每个任课教师都有自己的登陆账号和密码 ,打开网页输入网址

第二步:选择左边菜单栏→教学服务 进入

第三步:进入→我的课表(双击)→选择学期学年(点击查询)

第四步:查询出课程后,选择需要调整的课程,点击右边调课申请

第五步:在右边的调课方案中 进行调整

调课类型要注意:
系统提供的调课类型有:整体调课(1-18周时间、地点全调)、部分调课(部分周次的时间地点同时调)、停课。停课后可以通过补课操作重新开放课程课表。管理端能进行整体变更教师申请。
时间:点击“可用时间”按钮进入后双击没有“占用”标识的课节即可

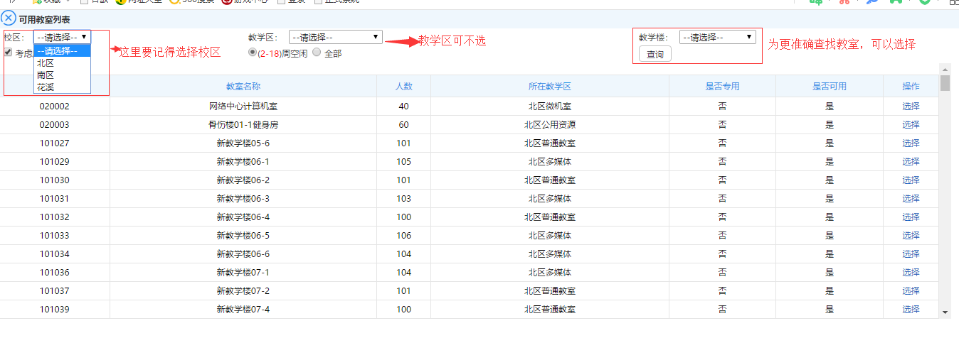
地点:点击“可用教室”按钮进入后,校区要选,然后找到所需要的教室点击右边的“选择”

最后:说明原因,点击保存

第六步:保存完成后要送审,在下方的调课信息列表中就有调课申请信息,点击“送审”,送给刘红院长审核,完成调课申请。
